Product Summary
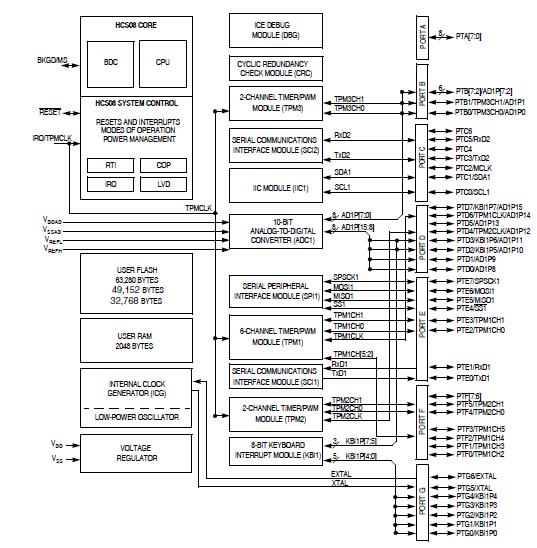
The MC9S08AC60CFGE is a member of low-cost, high-performance HCS08 Family of 8-bit microcontroller units (MCUs). All MCUs in the family use the enhanced HCS08 core and are available with a variety of modules, memory sizes, memory types, and package types.
Parametrics
MC9S08AC60CFGE absolute maximum ratings: (1)Supply voltage, VDD: -0.3 to +5.8V; (2)Input voltage, VIn: -0.3 to VDD+0.3V; (3)Instantaneous maximum current, Single pin limit (applies to all port pins), ID: 25mA; (4)Maximum current into VDD, IDD: 120mA; (5)Storage temperature, Tstg: -55 to +150℃; (6)Maximum junction temperature, TJ: 150℃.
Features
MC9S08AC60CFGE features: (1)8-Bit HCS08 Central Processor Unit (CPU); (2)Development Support; (3)Memory Options; (4)Clock Source Options; (5)System Protection; (6)Power-Saving Modes; (7)Up to 54 general-purpose input/output (I/O) pins; (8)Software selectable pullups on ports when used as inputs; (9)Software selectable slew rate control on ports when used as outputs; (10)Software selectable drive strength on ports when used as outputs; (11)Master reset pin and power-on reset (POR); (12)Internal pullup on RESET, IRQ, and BKGD/MS pins to reduce customer system cost; (13)44-pin low-profile quad flat package (LQFP).
Diagrams

| Image | Part No | Mfg | Description | ![]() |
Pricing (USD) |
Quantity | ||||||||||||
|---|---|---|---|---|---|---|---|---|---|---|---|---|---|---|---|---|---|---|
![]() |
![]() MC9S08AC60CFGE |
![]() Freescale Semiconductor |
![]() 8-bit Microcontrollers (MCU) 8B 60K FLASH 8K RAM |
![]() Data Sheet |
![]()
|
|
||||||||||||
![]() |
![]() MC9S08AC60CFGER |
![]() Freescale Semiconductor |
![]() 8-bit Microcontrollers (MCU) 8B 60K FLASH 8K RAM |
![]() Data Sheet |
![]()
|
|
||||||||||||
(China (Mainland))









