Product Summary
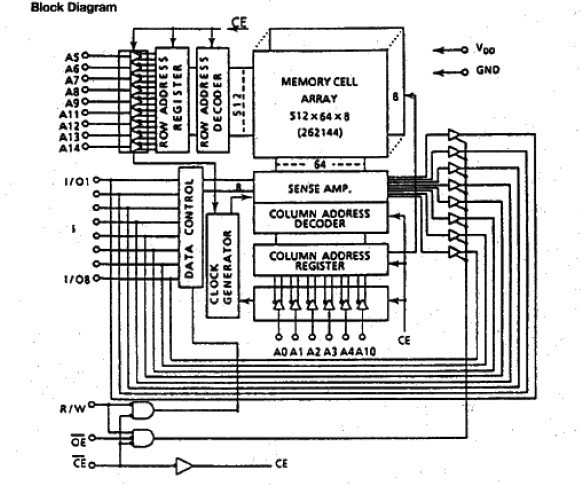
The TC55257CFI-85L is a 262,144 bit CMOS static random access memory organized as 32,768 words by 8 bits and operated from a single 5V power supply. Advanced circuit techniques provide both high speed and low power features with an operating current of 5ma/mhz and a minimum cycle time of 85ns.
Parametrics
TC55257CFI-85L absolute maximum ratings: (1)power supply voltage, Vdd: -3.0 to 7.0V; (2)input voltage, Vin: -3.0 to 7.0V; (3)input and output voltage, Vi/0: -0.5 to Vdd+0.5V; (4)power dissipation, Pd: 1.0W.
Features
TC55257CFI-85L features: (1)low power dissipation; (2)standby current; (3)single 5V power supply; (4)SHORTaccess time.
Diagrams

|  |  TC55 |  Cornell Dubilier |  Aluminum Electrolytic Capacitors - Leaded 20uF 250V |  Data Sheet |  
 |  | ||||||||
|  |  TC55 Series |  Other |  |  Data Sheet |  Negotiable |  | ||||||||
|  |  TC55100185L |  Other |  |  Data Sheet |  Negotiable |  | ||||||||
|  |  TC551001BFL |  Other |  |  Data Sheet |  Negotiable |  | ||||||||
|  |  TC551001BFTL |  Other |  |  Data Sheet |  Negotiable |  | ||||||||
|  |  TC551001BPL |  Other |  |  Data Sheet |  Negotiable |  | ||||||||
 (China (Mainland))
 (China (Mainland)) 
                         
                        
 
                                    




